元琛科技披露年报,2025年实现营业收入6.99亿元,同比增长10.95%;归母净利润亏损3064.94万元,上年同期亏损6085.58万元,同比亏损收窄。报告期内,因公司产品的主要所在行业钢铁、水泥、垃圾焚烧等行业景气度有所下降,导致市场增量放缓,竞争不断加剧牛策略,产品销售价格走低,影响了公司的经营利润,也导致回款时间拉长、应收账款增加,增加了企业的资金成本。新业务布局及市场开拓方面的投入、费用同比增加;部分设备产生诉讼,谨慎考虑对其计提资产减值,导致整体利润下滑。
举报 第一财经广告合作,请点击这里此内容为第一财经原创,著作权归第一财经所有。未经第一财经书面授权,不得以任何方式加以使用,包括转载、摘编、复制或建立镜像。第一财经保留追究侵权者法律责任的权利。如需获得授权请联系第一财经版权部:banquan@yicai.com 相关阅读
半导体行业营收及净利润加速增长 16只被“错杀”的绩优股曝光半导体行业营收及净利润加速增长 16只被“错杀”的绩优股曝光
60 04-06 13:25
龙虎榜丨机构今日买入这20股,卖出招商轮船9999万元龙虎榜丨机构今日买入这20股,卖出招商轮船9999万元
29 2025-12-02 18:23
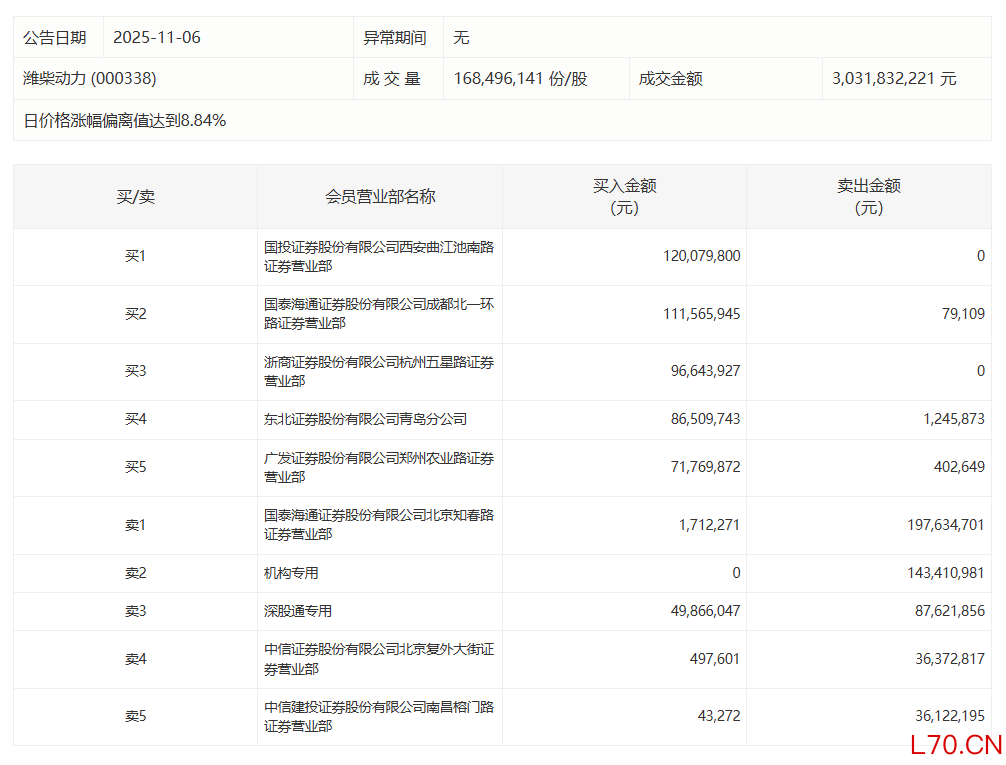
潍柴动力今日涨停,有1家机构专用席位净卖出1.43亿元潍柴动力今日涨停,有1家机构专用席位净卖出1.43亿元
2025-11-06 16:28
主力今日尾盘买卖这些个股主力今日尾盘买卖这些个股
元股证券:ygzq.hk 16 2025-10-22 15:54
知情人士回应王健林被“限高”:下属项目公司经济纠纷导致此次是由于万达下属项目公司经济纠纷导致牛策略。
111 2025-09-28 12:27 一财最热 点击关闭
聚焦跨境投资市场股票极速配资开户的资产配置结合舆情与数据的综近期,在世界主要股市的高位股风险释放期中,围绕“股票极速配资
2026-03-07
本周,两大核心担忧引发市场集中调整与结构快速轮动。一方面,中东局势尚不明朗,后续油价和通胀的走势存在较大不确定性,经济滞
2026-03-24
配资炒股 据证监会网站,证监会发布2025年执法情况综述。其中指出,上市公司欺诈造假是侵蚀资本市场根基的“毒瘤”,严重危
2026-04-18
中新经纬3月19日电 (张澍楠 付健青)美联储继续维持利率不变配资杠杆。 继美联储1月29日将联邦基金利率目标区间维持在
2026-03-20
热点栏目 自选股 数据中心 行情中心 资金流向 模拟交易 客户端 文章来源:汇通财经 周一(北京时间4月20日)亚市早盘
2026-04-21