中材科技涨停,中国巨石涨停股价续创新高,宏和科技此前涨停,国际复材涨超15%,长海股份、山东玻纤、振石股份等跟涨。
举报 第一财经广告合作,请点击这里此内容为第一财经原创,著作权归第一财经所有。未经第一财经书面授权,不得以任何方式加以使用,包括转载、摘编、复制或建立镜像。第一财经保留追究侵权者法律责任的权利。如需获得授权请联系第一财经版权部:banquan@yicai.com 相关阅读
西藏矿业五年来首亏,游资为何进场扫货?近日有游资进场净买入近2亿元,所在席位位列龙虎榜“买一”位置。
配资网站 年报看台 3624 昨天 19:35
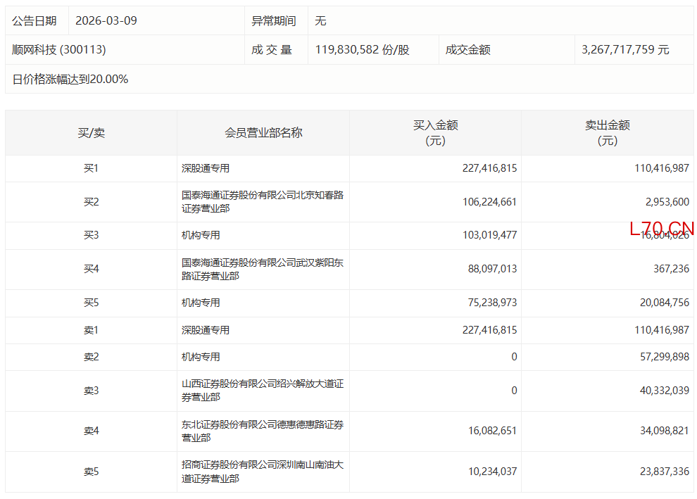
顺网科技今日20%涨停,2家机构专用席位净买入1.41亿元顺网科技今日20%涨停,2家机构专用席位净买入1.41亿元
元股证券:ygzq.hk 03-09 16:36
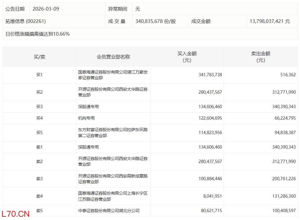
拓维信息今日涨停,国泰海通湛江万豪世家证券营业部净买入3.41亿元拓维信息今日涨停,国泰海通湛江万豪世家证券营业部净买入3.41亿元
03-09 16:35
连板股追踪丨A股今日共88只个股涨停 这只电网设备股3连板电网设备板块顺钠股份、汉缆股份3连板。一图速览今日连板股>>
91 03-06 17:29
准油股份今日涨停股票均线怎么看,有3家机构专用席位净卖出5371.75万元准油股份今日涨停,有3家机构专用席位净卖出5371.75万元
18 03-04 16:36 一财最热 点击关闭
深度专栏:杠杆配资开户在国际权益市场的账户管理估值修复逻辑近期,在境外证券市场的低位板块轮动抬升阶段中,围绕“杠杆配资开
2026-03-06
在在当前指数虚高而个股分化的阶段里下,配资助手的监控指标体系近期,在北向资金市场的资金博弈集中在局部热点的时期中,围绕“
2026-03-09
三联锻造披露年报,2025年实现营业收入16.42亿元,同比增长5.09%(调整后);归母净利润1.1亿元,同比下降24
2026-04-10
热点栏目 自选股 数据中心 行情中心 资金流向 模拟交易 客户端 来源:央视财经 因能源价格飙升,投资者担忧美联储或碍于
2026-03-28
桂浩明(市场资深人士) 元股证券:yy6699.vip A股上市公司2025年半年报已基本披露完毕,经营状况总体符合预期
2026-03-02