德明利披露一季报浙江省股票杠杆信息门户,公司2026年一季度实现营业收入75.38亿元,同比增长502.08%;归母净利润33.46亿元,上年同期亏损6908.77万元,同比扭亏为盈。
举报 第一财经广告合作,请点击这里此内容为第一财经原创,著作权归第一财经所有。未经第一财经书面授权,不得以任何方式加以使用,包括转载、摘编、复制或建立镜像。第一财经保留追究侵权者法律责任的权利。如需获得授权请联系第一财经版权部:banquan@yicai.com 相关阅读
国家统计局:7月份社会消费品零售总额增长3.7%国家统计局:7月份社会消费品零售总额增长3.7%
元股证券:ygzq.hk
17 2025-08-15 10:02
杠杆资金重仓股曝光 东方财富居首杠杆资金重仓股曝光 东方财富居首
2025-08-14 08:55
寒武纪今日涨停 涪陵广场路席位净买入10.86亿元寒武纪今日涨停 涪陵广场路席位净买入10.86亿元
配资炒股 2025-08-12 17:29
杠杆资金重仓股曝光 中际旭创居首杠杆资金重仓股曝光 中际旭创居首
2025-08-12 09:11
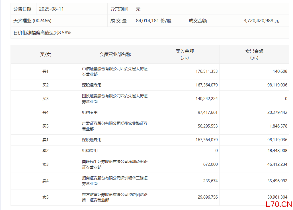
天齐锂业今日涨停 深股通净买入6924.50万元浙江省股票杠杆信息门户天齐锂业今日涨停 深股通净买入6924.50万元
2025-08-11 17:13 一财最热 点击关闭
投资者报告:当下时点高度依赖平台工具的用户群使用移动配资的跨近期,在A股市场的存量资金反复博弈阶段中,围绕“移动配资”的
2026-03-04
周末仍在交易的加密货币多数上涨交易记录,其中比特币一度出现拉升,重回67000美元上方。 根据 CoinGlass 数据
2026-04-05
配资 结构性行情下靠谱配资的账户管理围绕账户生存率的策略设计近期,在离岸金融市场的短线情绪起伏明显的阶段中,围绕“靠谱配
2026-03-05
专题:中国发展高层论坛2026年年会在线配资炒股开户 中国发展高层论坛2026年年会于3月22日-3月23日举行,亚洲基
2026-04-06
在在结构性行情阶段这一阶段阶段如何用好永元在线股票投资配资做近期,在海外交易市场的宏观预期与流动性博弈的周期中,围绕“永
2026-03-01